fbpx Skip to content

RV-6/6A

Most. Popular. Kitplane. Ever.

Continue to next section
The Grand Leader in Kitplanes
No other brand comes close to matching Van's for sheer number of flying aircraft, and no other Van's RV model has as many flying examples as the RV-6.
Side-by-Side Seating
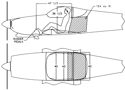
The RV-6 was the first RV to be configured with seats where the pilot and passenger were positioned next to each other.

Note: The RV-6/6A was replaced by the RV-7/7A in 2001. This information is maintained and provided for historical purposes.

Evolution: From RV-6 to RV-7

The side-by-side RV-6 and its cousin, the tricycle gear RV-6A were introduced in 1986 and soon became the best-selling kit aircraft to date. We spent time with many RV-6/6A builders and listened carefully to what they liked — and didn’t like — about their airplanes. We acquired better tools and manufacturing capability, including digitally controlled punch presses. After fifteen years, we found we had the ability and knowledge to build a little better airplane and a far superior kit.

So we did. In 2001, the RV-6/6A was replaced by the RV-7/7A.

While Van’s no longer offers RV-6/6A Empennage or Wing Kits, Van’s continues to supply the needed parts to thousands of builders who are finishing RV-6/6As. New ones still fly with regularity. The information provided below is certainly interesting history, but if you’re looking for Van’s current side-by-side sport aerobatic airplane, you can read about the RV-7/7A.

RV-6
The RV-6 taildragger is - by far - the most prolific experimental airplane in the world.
RV-6A
Cousin to the tailwheel model, the RV-6A tricycle gear model is also a popular and very common aircraft.

Highlights

The side-by-side RV-6 and its cousin, the tricycle gear RV-6A were introduced in 1986 and soon became the best-selling kit aircraft to date. More than 2600 RV-6’s have flown to date, and some are still in the process of being completed!

In the 197os and early ’80s, one limit to RV sales had always been the fact that they were all tailwheel airplanes. They had no nasty habits and in many ways were easier to fly and land than many production tailwheel aircraft, but there was no denying that many prospective customers had never had the chance to even try a tailwheel and were reluctant to plunge into building one.

Installing a nose wheel solved the problem. The RV-6A featured very simple tricycle gear, with steel rod main gear legs and a free-castering nose wheel. The nose gear leg was supported by the steel engine mount and required no complicated steering mechanisms or shock absorbers. The modification resulted in very little weight gain and almost negligible performance loss…in fact; it is not unusual for a given tri-gear RV-6A to be slightly lighter and faster than a specific RV-6. Landing and taxi became easier than ever.

After the RV-6A was flying, Van’s designed another major change. A sliding canopy became an option on both the RV-6 and RV-6A. This proved very popular in hot climates, where long taxis under a burning sun could become very uncomfortable. Sliding the canopy back and hanging an elbow over the rail made the pilot cool in two ways! Because the tail and wings are identical on the RV-6 and RV-6A, a customer can build a great deal of the airplane before committing to a landing gear or canopy design.

History

Soon after the RV-4 proved that a two-seat RV was a practical and exciting airplane, prospective customers began asking for a side-by-side RV.

When the demand became too big to ignore, Van went back to the drafting board. Initially, he was reluctant because he believed that a wider — and inevitably heavier — airplane would suffer in comparison to the sleek centerline-seating airplanes. It wasn’t long before his quest for optimization surfaced again. Using what he’d learned from the RV-3 and RV-4, and striving in every way he knew to avoid losing performance, he designed the RV-6.

He made it 43 inches wide and gave it a generous baggage compartment behind the seats. The wing on the RV-4 had worked so well, there was no point in changing it — so he didn’t. The canopy was a forward-opening bubble that closed almost seamlessly and, like all RVs, the visibility was superb. The landing gear was the same tailwheel arrangement that had worked so well on the RV-3 and RV-4. Since a side-by-side airplane was more likely to be flown cross-country, the fuel capacity was increased.

The RV-6 made its first flight in 1985. When all the flight testing was done, Van was delighted to find that despite the wide fuselage, it was only three miles per hour slower than the RV-4! The handling qualities and STOL characteristics were so close that a pilot who couldn’t see the altered visual picture caused by sitting off the centerline probably couldn’t tell the RV-4 and RV-6 apart.